Home      Kontakt        Impressum      Sitemap      Languages      English      WIAP MEMV       Neumaschinen      Umbauten     Filme

          

                                                                                                                                                                                   

Patente 2017      Vorrichtung zur Vibrationsentspannung von Werkstücken

                            

Patentanmeldung 472/17     Patent 2017 MEMV Drehautomat ohne Bilder

 

Patentanmeldung 472/17     Patent 2017 MEMV Drehautomat mit Bilder

 

Hinterlegbescheinigung Patent 472/17     Patent 2017 MEMV Drehautomat

 

Patent 2020, Abschlussprüfung     Abschluss der Prüfung der Patentanmeldung

 

Patentschreiben zum Patent_CH_713680     Patent Nr. 713 680 Patentschreiben

 

Patenturkunde_CH_713680     Patent Nr. 713 680 Urkunde über die Erteilung des Patentes

 

Patentschrift_CH_713680     Patent Nr. 713 680 Vorrichtung zur Vibrationsentspannung von Werkstücken

 

Patent_CH_713680_Alles     Patent Nr. 713 680 Vorrichtung zur Vibrationsentspannung von Werkstücken

 

Patentanmeldung_2017_02_MEMVNeu     Patentanmeldung 2017 MEMV Vibrieren Deutschland

 

Patent_02_2017_AnmeldungDE_0002     Patent 2017 MEMV Vibrieren neue Anlage Deutschland

 

  

 

 
 

 

Vorrichtung zur Vibrationsentspannung von Werkstücken

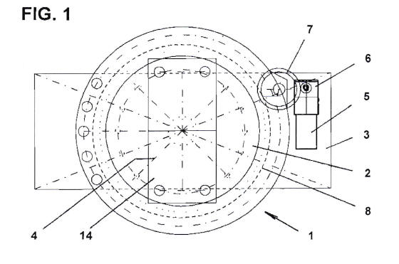
Die Erfindung bezieht sich auf Vorrichtung zur Vibrationsentspannung von Werkstücken. Eine Vibrationseinrichtung (9) weist mindestens einen Exzenter (10, 16) mit einem Vibrations-Antrieb (11, 15) auf, zum Beispiel einem Elektromotor. Die Vibration wird durch Unwucht bewirkt. Diese Vibrationseinrichtung (9) ist an einer Dreheinrichtung (1) angeordnet. Dadurch ist deren Drehposition (4) und somit die Vibrationsachse gegenüber dem Werkstück verstellbar. Sind zwei oder mehr Exzenter (10, 16) vorhanden, so kann deren Drehstellung zueinander veränderbar sein und somit deren Vibrationswirkung. Dank der erfindungsgemässen Vorrichtung lassen sich selbst komplexe Werkstücke, beispielsweise mit angeschweissten Stegen, zuverlässig entspannen.  

 

                             

 

 

Home     Kontakt     Impressum     Sitemap