Home      Kontakt        Impressum      Sitemap      Languages      English      WIAP MEMV       Neumaschinen      Umbauten     Filme

              

                                                                                                                      

                                                                                  

Patente 2014     Verfahren und Vorrichtung zum Vibrationsentspannen von Werkstücken     

 

Patentanmeldung 778/14     Patent 2014 3D Vibrator VS Anmeldung Schweiz

 

Hinterlegbescheinigung Patent 778/14      Patent 2014 3D Vibrator VS Hinterlegbescheinignung Schweiz

 

Offenlegung Patentanmeldung 778/14     Patent 2014 3D Vibrator VS Offenlegung Schweiz

 

Patenturkunde_CH_709682     Patent Nr. 709 682 Vibrationsentspannung Patenturkunde Schweiz

 

Patentschrift_CH_709682     Patent Nr. 709 682 Vibrationsentspannung Patentschrift Schweiz

 

Patentanmeldung DE 10 2015 107 534.2      Patent 2014 3D Vibrator VS Anmeldung Deutschland

 

Offenlegung Patent DE 10 2015 107 534.2  2015     Patent 2014 3D Vibrator VS Offenlegung Deutschland

 

 

Verfahren und Vorrichtung zur Vibrationsentspannung von Werkstücken

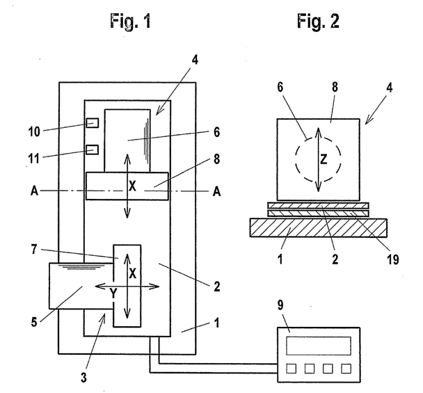
Ein oder mehrere zu entspannende Werkstücke (1) werden zeitgleich oder nacheinander in drei zueinander abgewinkelten Achsen X, Y und Z vibriert. Die Y-Achse liegt in der Waagerechten rechtwinklig zur X-Achse, während die Z-Achse in der Senkrechten rechtwinklig zur X-Achse liegt. Abweichungen vom rechten Winkel, also auch spitze oder stumpfe Winkel, sind möglich. Das mindestens eine Werkstück (1) wird jedoch sowohl in der Waagerechten als auch in der Senkrechten vibriert. Dadurch werden mindestens Spannungen ini der Nähe einer zyklischen 0,1-Dehngrenze erreicht, um sowohl die makroskopischen als auch die mikroskopischen Eigenspannungen im Werkstück (1) abzubauen. Die Vibrationsentspannung wird zu einem sicheren und verlässlichen Verfahren. Die Vorrichtung weist mindestens einen Antrieb (5, 6) in Form eines Rotationsmotors auf, wobei die Vibration durch mindestens zwei im Winkel zueinander stehende Exzenter (7, 8) auf das mindestens eine Werkstück (1) aufgebracht wird.

 

         

 

Home     Kontakt     Impressum     Sitemap