Home      Kontakt        Impressum      Sitemap      Languages      English      WIAP MEMV       Neumaschinen      Umbauten     Filme

             

                                                                                                          

                                                                                                                     

Patent 1993 Nr. EP 0 634 247 A1

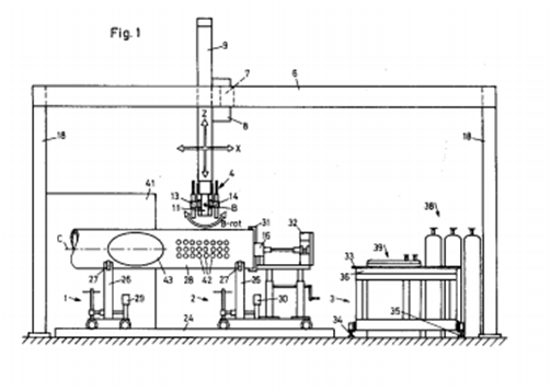
Anlage zur Bearbeitung grossdimensionaler Werkstücke aus Metall   

               

 

 

Patent 1993 Anlage zur Bearb. grossdim. Werkstücke

 

Patent 1993 Nr. EP 0 634 247 A1

 

 

 

 

  

 

 

 

Fig. 1.

 

Home     Kontakt     Impressum     Sitemap